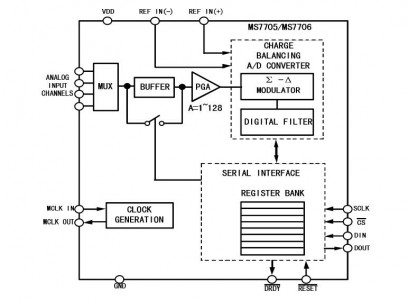
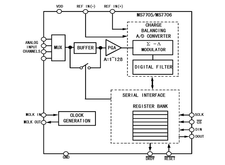
工采網代理的高精度模數轉換芯片 - MS7705/MS7706是一款用于低頻測量的模數轉換器。它采用了Σ-Δ轉換技術實現了輸出結果為 16 位的無失碼。工作電壓范圍為2.7V-3.3V 或 4.75V-5.25V。MS7705 具有2個全差分模擬信號輸入通道;MS7706 具有3個偽差分輸入通道。 MS7705/MS7706 非常適合用于智能,微控制器,或基于DSP的系統。它可通過串行接口來設置增益,信號極性,及輸出速率。還可以進行自校準和系統校準來消除系統的增益和偏移誤差。CMOS工藝確保了非常低的功耗,在待機模式下的功耗典型值為 20μW。
主要特點
● MS7705:2 個全差分輸入通道
●?MS7706:3 個偽差分輸入通道
●?輸出 16 位無失碼
●?0.003%非線性
●?可編程的增益前端:增益從 1 到 128
●?3 線串口: SPI?-,QSPITM-,MICROWIRETM-,DSP-兼容
●?SCLK 內部具有施密特觸發器
●?2.7 V 到 3.3 V 或 4.75 V 到 5.25 V 的工作電壓
●?在 3V 的電源電壓下大功耗為 1mW
●?待機電流為 8μA
●?SOP16 寬體封裝
應用?
● 壓力測量
●?溫度測量
●?電池監控
●?智能發送器
產品信息:
內部框圖:
轉載請注明出處:傳感器應用_儀表儀器應用_電子元器件產品 – 工采資訊 http://www.iohhome.com/18192.html







