隨之自動化的發展,液位開關,對于很多消費者來說,可能比較陌生些,液位開關作為一種常見的測量液位位置的傳感器,它是一種將測量的液體的高度轉化成為,電信的方式進行傳出的,在工業、食品、醫藥、石油等行業有這廣泛的應用。由于作業環境復雜,需求多樣、一直相適應,從形式上主要分為接觸式和非接觸式。非接觸式的如電容式液位開關,接觸式的例如:浮球式液位開關、電極式液位開關、電子式液位開關。電容式液位開關也可以采用接觸式方法實現。其中比較常見的有音叉液位開關、浮球液位開關、光電液位開關、電極式液位開關。工釆網小編整理了一下各類液位開關的相關工作原理一起了解一下吧。
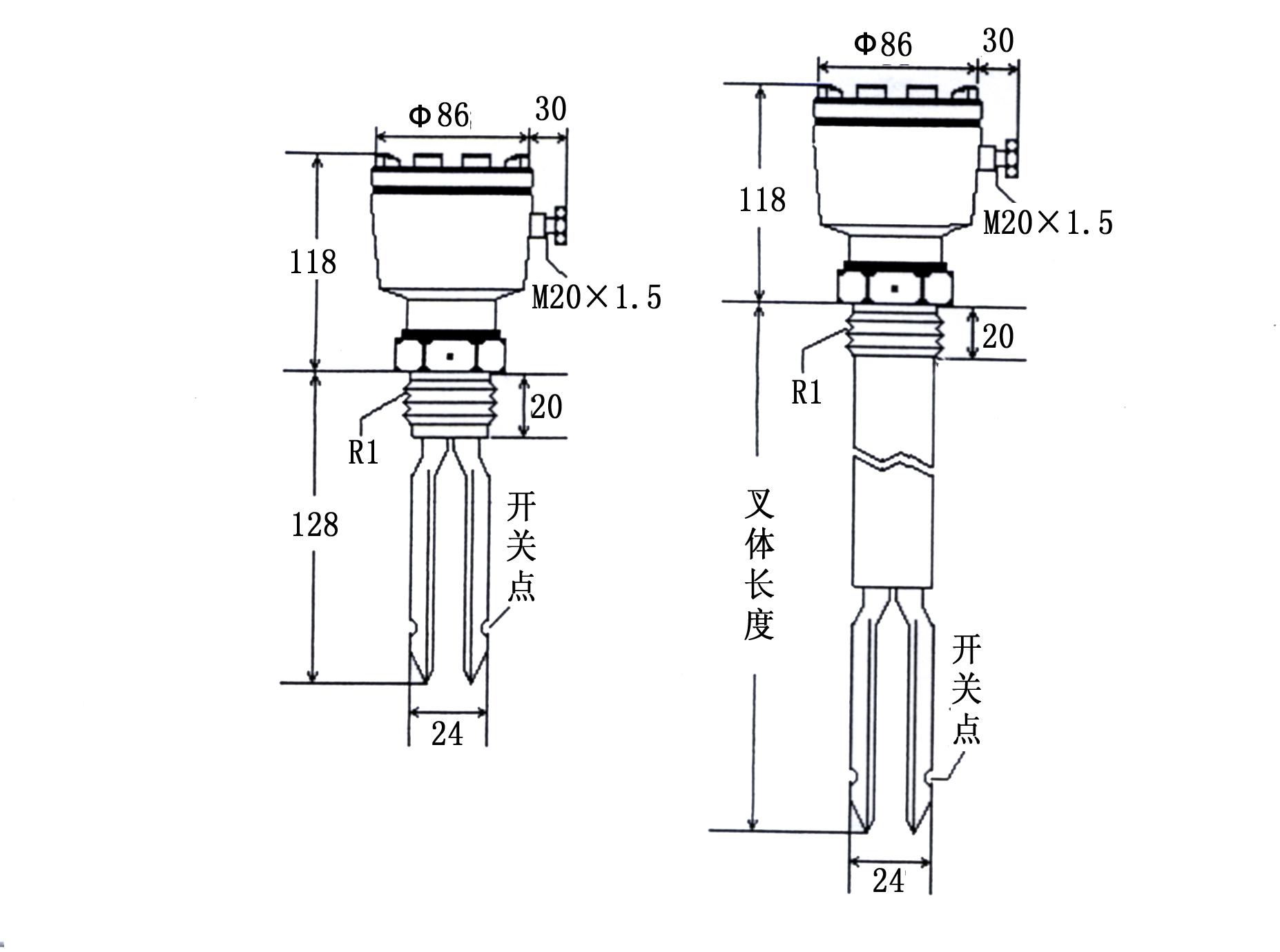
音叉液位開關
音叉液位開關的工作原理是通過安裝在基座上的一對壓電晶體使音叉在一定共振頻率下振動。當音叉液位開關的音叉與被測介質相接觸時,音叉的頻率和振幅將改變,音叉液位開關的這些變化由智能電路來進行檢測,處理并將之轉換為一個開關信號,達到液位報警或控制的目的。為了讓音叉伸到罐內,通常使用法蘭或者帶螺紋的工藝接頭將音叉開關安裝到罐體的側面或者頂部。
浮球液位開關
浮球液位開關結構主要基于浮力和靜磁場原理設計生產的。帶有磁體的浮球(簡稱浮球)在被測介質中的位置受浮力作用影響:液位的變化導致磁性浮子位置的變化。浮球中的磁體和傳感器(磁簧開關)作用,產生開關信號。
光電液位開關
光電液位開關產品內部包含一個近紅外發光二極管和一個光敏接收器。發光二極管所發出的光被導入傳感器頂部的透鏡。當液體浸沒光電液位開關的透鏡時,則光折射到液體中,從而使接收器收不到或只能接收到少量光線。光電液位開關通過感應這一工況變化,接收器可以驅動內部的電氣開關,從而啟動外部報警或控制電路。如果沒有液體,則發光二極管發出的光直接從透鏡反射回接收器。
電極式液位開關
電極式液位開關是利用液體的導電性來監測液位的高低,解釋接觸到棒極,便會導電從而輸出報警信號。該液位開關可多點控制,控制位置由客戶需求而定,具有突破保護功能,可有效防止突波干擾,不過電極式液位開關僅適用于導電液體,且液體不能有揮發性
轉載請注明出處:傳感器應用_儀表儀器應用_電子元器件產品 – 工采資訊 http://www.iohhome.com/7066.html








