質量流量計目前廣泛應用于石油、燃氣、化工、冶煉、能源等行業中,其中質量流量計在石油方面的應用主要一部分用于生產過程中的流量控制,另一部分用于石油、石化產品的貿易計量。為了更好地適應油田原油計量的需要,目前應用較多的是矽翔質量流量計。下面我們具體了解一下質量流量計在石油化工中的應用。
概述
液化石油氣既是煉化企業的主要產品,也是重要原料之一。由于液化石油氣的物理性質較其他石油產品(如汽油、煤油、柴油等)有其特殊性,對流量計的穩定運行和測量準確度影響較大,因此成為煉化企業流量測量的一大難題。
質量流量計工作原理
質量流量計是采用感熱式測量,通過分體分子帶走的分子質量多少從而來測量流量,因為是用感熱式測量,所以不會因為氣體溫度、壓力的變化從而影響到測量的結果 。質量流量計是一個較為準確、快速、可靠、高效、穩定、靈活的流量測量儀表,在石油加工、化工等領域將得到更加廣泛的應用,相信將在推動流量測量上顯示出巨大的潛力。質量流量計是不能控制流量的,它只能檢測液體或者氣體的質量流量,通過模擬電壓、電流或者串行通訊輸出流量值。但是,質量流量控制器,是可以檢測同時又可以進行控制的儀表。質量流量控制器本身除了測量部分,還帶有一個電磁調節閥或者壓電閥,這樣質量流量控制本身構成一個閉環系統,用于控制流體的質量流量。質量流量控制器的設定值可以通過模擬電壓、模擬電流,或者計算機、PLC提供。
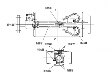
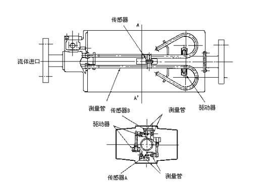
質量流量計是一種新型的直接測量封閉管道內流體質量流量測量儀表,其結構一般由信號測量傳感器和信號轉換器兩部分組成。由于質量流量計具有能夠直接測量流體珠質量流量,測量準確度高,應用范圍廣,安裝要求低,儀表運行可靠,維修率低等特點。那么如何解決由于液化石油氣的物理性質較其他石油產品(如汽油、煤油、柴油等)有其特殊性,對流量計的穩定運行和測量準確度影響的問題呢?
液化石油氣主要成分是丙烷、丙烯、丁烷、異丁烯構成,影響液化石油氣流量測量穩定性和準確度的主要原因需要從飽和蒸汽壓對測量準確度及液化石油氣自潤滑性差對流量計使用壽命的影響兩個方面來考慮。
液化石油氣的飽和蒸汽壓較其他石油產品高得多。因此,在流量測量中,如果流量計的背壓不高于其蒸汽壓時,在流量計測量腔內就會產生氣、液兩相。無論對于體積測量儀表(如渦輪流量計或容積式流量計)還是質量流量計,流體中氣、液兩相的存在都會直接影響測量準確度,有時這種影響會很大。其次就是液化石油氣自潤滑性差對流量計使用壽命的影響,在采用渦輪或容積式流量計測量液化石油氣時,由于液化石油氣自潤滑性差,也就是人們常說的比較“澀”,造成轉子軸與定子軸承之間、轉子與計量腔內壁之間磨損嚴重,直接影響流量計的壽命。
質量流量計的價位一般要高于渦輪流量計3~5倍。首先,它的計量腔內無可動部件,克服了流體自潤滑不好所造成的影響。同時,它直接測得流體的交接質量,而渦輪流量計測得的是流體的體積,要想換算成交接質量,還要測量流體的溫度、壓力、密度等參數。其中液化石油氣在線密度測量儀表價位很高,遠高于質量流量計。如果采用離線分析,首先是采樣的代表性不好,采樣時輕組分偏多,易造成樣品密度小于實際流體密度。同時,由于液化石油氣飽和蒸汽壓高,在常壓下無法測其密度,所以只能用色譜分析法或稱重瓶法來測量其密度,不僅操作比較麻煩,而且測量準確度難以保證較高。 但是從技術性能、使用壽命、測量準確度、運行穩定性以及維護工作量上比較,質量流量計要優于渦輪流量計。所以采用質量流量計是很有必要的。質量流量計是采用感熱式測量,通過分體分子帶走的分子質量多少從而來測量流量,因為是用感熱式測量,所以不會因為氣體溫度、壓力的變化從而影響到測量的結果。
對于質量流量計在石油化工中的應用工釆網小編推薦Siargo矽翔流量計 - MF5000
Siargo矽翔MF5000系列氣體質量流量計是矽翔微機電系統有限公司結合微機電系統(MEMS)流量傳感芯片技術和計算機自適應技術歷經多年,開發出的智能化全電子式氣體質量流量儀表,主要技術性能處于國際領先水平,具有高靈敏度、高精度、大量程比等特點;針對工業環境,融合了多種抗干擾措施的電磁兼容設計;且具有多種信號輸出,能通過通訊接口實現網絡管理功能;本產品在性能、安裝和維護方面也具有其獨特的優越性,質量流量計是測量管道內質量流量的流量測量儀表。在被測流體處于壓力、溫度等參數變化很大的條件下,若僅測量體積流量,則會因為流體密度的變化帶來很大的測量誤差。在容積式和差壓式流量計中,被測流體的密度可能變化30%,這會使流量產生30~40%的誤差。隨著自動化水平的提高,許多生產過程都對流量測量提出了新的要求。化學反應過程是受原料的質量(而不是體積)控制的。蒸氣、空氣流的加熱、冷卻效應也是與質量流量成比例的。產品質量的嚴格控制、精確的成本核算、飛機和導彈的燃料量控制,也都需要精確的質量流量測量。因此質量流量計是一種重要的流量測量儀表,可廣泛應用于石油、燃氣、化工、冶煉、能源等各個領域。
轉載請注明出處:傳感器應用_儀表儀器應用_電子元器件產品 – 工采資訊 http://www.iohhome.com/5228.html








