隨著政府與公眾對環境保護越來越注重,各地方政府也加大對環境的監管力度,水處理設備作為重要的環境保護設備,面臨著新時代的機會與挑戰。越來越多的水處理設備廠家希望通過物聯網技術,一方面監控所售設備的運行情況,另一方面也為終端用戶提供更好地水處理監控服務。智物聯順應市場需求,為水處理設備制造商(包括污水處理設備、原水處理設備、純水設備等制造廠家)提供專業的物聯網解決方案。通過專業的營銷、產品、實施團隊,采用物聯網、大數據、云計算等先進技術,打造符合客戶行業特征和實際需求的水處理設備物聯網解決方案和產品。系統采集水處理系統的設備運營、故障、水質等數據,實現設備、廠家、終端用戶的互聯互通,實現全覆蓋、高智能、實時響應的的水站管理、運營管理、水質統計、能耗評估、環境效益評估等功能。
其中一體化污水處理設備是監測水環境各項指標的重要部分,實時獲取水處理的各項工藝參數、設備信息等,通過物聯網技術,掌握設備運行情況、為設備改良提供數據支撐。
傳感器是關鍵:
任何數據的檢測都離不開傳感器,數據的穩定與否,是否準確都離不開傳感器。沒有傳感器的支撐,一切的功能都是毫無意義的。就拿自動駕駛來說,如果傳感器失靈,可能會造成安全事故。養殖來說,傳感器不好,可能會死魚。
什么樣的傳感器是好的:
傳感器穩定是關鍵,不穩定就不能發現變化趨勢。要精準,數據精準,才有可信度。低維護,如果一個傳感器,需要三天兩頭的去維護,那么還不如不用,因為用了之后反而工作量更多了。簡單易用,不用說明書,用戶也知道怎么操作,一切合符規律。能帶來便捷性,能節省成本,對用戶有幫助。
目前主要有以下幾類傳感器主要應用于污水處理中:
1、PH值監測
pH亦稱氫離子活度指數,是溶液中氫離子活度的一種標度,也就是通常意義上溶液酸堿程度的衡量標準。pH值越趨向于0表示溶液酸性越強,反之,越趨向于14表示溶液堿性越強,在常溫下,pH-7的溶液為中性溶液。
常見的污水處理方法有物理法、化學法、物理化學法、生物法。在這些處理方法中有很多化學反應需要在特定的閾值下進行,否則得不到所期望的產物,pH值對物理化學法的影響用于污水處理的物理化學法包括混凝、氣浮、吸附、磁吸附、電化學法等,其中氣浮法、混凝沉淀法較為常用。
pH值對生物處理法的影響生物法處理廢水分為好氧生物法和厭氧生物法。廢水厭氧生物處理是指在無分子氧條件下通過厭氧微生物(包括兼氧微生物)的作用,將廢水中的各種復雜有機物分解轉化成甲烷和二氧化碳等物質的過程,也稱為厭氧消化,好氧生物法在有氧的條件下利用好氧微生物的新陳代謝作用,將廢水中的各種復雜有機物氧化分解為二氧化碳和水。
pH對好氧生物處理的影響影響好氧生物處理的因索主要是營養物、溫度、pH.水中的溶解氧、毒物和廢水中有機物的性質等。一般好氧微生物的適宜pH在6.5~9之間pH6.5抗真菌將占優勢,引起污泥膨脹,這時可采取投加石灰、控制進水量和減少曝氣來抑制污泥膨脹。
pH對厭氧微生物的影響厭氧消化過程劃分為3個連續的階段水解酸化階段、產氫產乙酸階段和產甲烷階段。第一階段為水解酸化階段。復雜的大分子、不溶性有機物先在細胞外商的作用下水解為小分子。溶解性有機物滲入細胞體內,分解產生揮發性有機酸、醇類、醛類等。第二階段為產氫產乙酸階段。在產氫產乙酸細菌的作用下,第一階段產生的各種有機酸被分解轉化成乙酸和Hz。碳酸以及新的細胞物質。第三階段為產甲烷階段,產甲烷細菌將乙酸、乙酸鹽、CO,和H,等轉化為甲烷、二氧化碳和新的細胞物質。
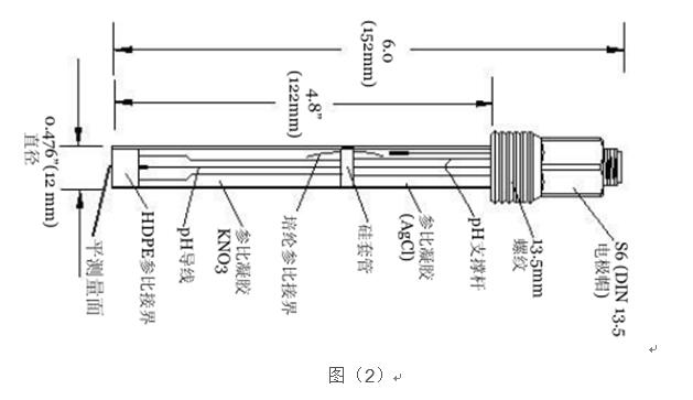
目前常見的PH傳感器有球泡和平面PH玻璃技術,同時也可以根據要求選擇單或雙接界設計,扁平或凹陷的測量面。同時針對一些強酸(HF),耐高溫殺菌,CIP清洗等場合都有相對應的產品,目前大多數PH電極的外殼材料是玻璃,PVC,不銹鋼等外殼材料中。下圖給大家介紹常見PH的結構原理圖:
在一般的工作環境中,一般選用S200C圖(1)這種傳感器,該傳感器是低成本PH傳感器,在廢水監測中,由于使用環境的需求,推薦使用S272CD圖(3)這類外殼堅固的PH傳感器。該傳感器可以帶NTC或者PT100/PT1000進行溫度補償。
2、溶解氧監測
溶解在水體中的氧被稱溶解氧。水體中的生物與好氧微生物,它們所賴以生存的氧氣就是溶解氧。不同的微生物對溶解氧的要求是不一樣的。好氧微生物需要供給充足的溶解氧,一般來說,溶解氧應維持在3mg/L為宜,低不應低于2mg/L;兼氧微生物要求溶解氧的范圍在0.2-2.0mg/L之間;而厭氧微生物要求溶解氧的范圍在0.2mg/L以下。
溶解氧(DO)表示水中氧的溶解量,單位用mg/L表示。不同的生化處理方式對溶解氧的要求也不同,在兼氧生化過程中,水中的溶解氧一般在0.2-2.0mg/L之間,而在SBR好氧生化過程中,水中的溶解氧一般在2.0-8.0mg/L之間。因此,兼氧池操作時曝氣量要小,曝氣時間要短;而在SBR好氧池操作時,曝氣量和曝氣時間要大得多和長得多,而我們用的是接觸氧化,溶解氧控制在2.0-4.0mg/L。污水處理中熒光法溶解氧更為適合,因為他不會受到污水中其他離子的干擾,不消耗氧,不受流速限制,無需頻繁校準,低維護,使用壽命更長,可以長期在線監測。
目前監測溶解氧主要是基于原電池原理和熒光法原理來測量溶解氧下面為大家解析下兩種不同原理的傳感器的區別:
(1)原電池原理:
該傳感器是典型的浸入式安裝的溶解氧傳感器DO6400系列,大容量電解液,可長期部署,可帶或不帶溫度傳感器,易于安裝和維護,mV或4-20mA輸出型號。適用于水產養殖和廢水監測應用,這些傳感器所需的維護量極小。可提供PTFE或高密度HDPE隔膜。
尺寸大小如下圖:
(2)光學溶解氧傳感器:
熒光法溶解氧傳感器是基于物理學中特定物質對活性熒光的猝熄原理。來自一個發光二極管(LED)發出的藍光照射在熒光帽內表面的熒光物質上,內表面的熒光物質受到激發,發出紅光,通過檢測紅光與藍光之間的相位差,并與內部標定值比對,從而計算出氧分子的濃度, 經過溫度和氣壓自動補償輸出終值。
基于熒光淬滅技術的光學氧測量,與流量無關、快速響應的光學氧傳感器。無需極化,傳感器元件可更換。不受硫化物等化學物質干擾,內置溫度傳感器,自動溫度補償,熒光帽更換簡單。
針對于高溫高壓環境,以及一些CIP清洗條件下。也有相應的不銹鋼外殼的溶解氧傳感器SE 740:
1)傳感器元器件可跟換
2)溫度范圍:-10~130℃ 測量0~80℃1)傳感器元器件可跟換
3)壓力范圍:大12bar
4)測量范圍;4ppb/0.05~300%飽和度
5)精度:0.1ppb
6)溫度傳感器:NTC 22kohms
3、COD(化學需氧量)/BOD(生化需氧量)監測
許多溶解于水中的有機物對紫外光具有吸收作用。因此,通過測量這些有機物對254nm波長紫外光的吸收程度,可衡量水中有機污染物的總量。傳感器采用兩路光源,一路254nm紫外光,一路850nm紅外光,能自動對光路衰減及濁度影響進行補償,從而實現更穩定可靠的測量值。
目前市場上基于紫外線檢測的水質傳感器能檢測的參數包括?NO3-N, COD, BOD, TOC, DOC, UV254, NO2-N, SAC, AOC等,主要特點有:
1)全波段紫外可見光全光譜 (200-750 nm?或 200-390 nm)
2)可調節光程口徑
3)適用于地表水、地下水、飲用水和污水
4)長期穩定、維護量低
5)出廠前與校準,可以現場多點校準
6)可直接浸沒安裝在介質中(現場)?或旁通式安裝 (微型水站)
上圖所示的傳感器均是基于光學紫外線原理來檢測COD/BOD傳感器,無污染,經濟環保。自動補償功能,均可以選擇RS-485等輸出方式。用于污水處理中,COD的檢測范圍一般選擇0.75~340mg/L比較合理。
4、電導率傳感器
所有測量原理:二電極,四電極,電感式。適用于所有測量范圍,從超純水到濃酸和濃堿溶液,適合在線式、直通式和浸入式安裝。
電導率會根據其測量范圍來選擇K值,現在大部分傳感器工作環境可以歸納為一下幾類:
(1)低電導率和極低電導率環境(超純水中)
(2)一般的水和廢水處理中電導率的測量
(3)適用于高壓和高溫應用的四電極傳感器,大測量范圍(從純水到高電導率物質)
(4)用于重度污染介質,強氧化介質的環形電導率傳感器
(5)高溫高壓環境中耐腐蝕性的電導率測量
通過一個圖標來展示合理的K值選擇:
下面介紹幾款常見的電導率傳感器:
1,適用于廢水檢測的4-20mA電導率傳感器:
電導率傳感器采用四電極測量,提供寬范圍精確讀數,同時傳感器也自帶溫度補償。可以直接連接到PLC。
特點:
(1)檢測范圍:0 to 200 μS/cm (0.1us/cm)
200 to 2000 μS/cm(1us/cm)
2 to 20 mS/cm(0.01ms/cm)
20 to 200 mS/cm(0.1ms/cm)
200 to 2000 mS/cm(1ms/cm)
(2)溫度范圍:-5℃~70℃
(3)輸出:4-20mA
(4)壓力:35psi
(5)供電電壓:10-36VDC
2、衛生型電導率傳感器,帶衛生法蘭安裝:
我們提供耐用的316不銹鋼體電導率和電阻率傳感器,特別設計了用于衛生安裝的三向夾緊法蘭。這些傳感器能夠承受CIP清洗和蒸汽消毒過程。
特點:
(1)K值選擇:01,0.1,1
(2)材料:316不銹鋼, Teflon, EPDM
(3)高溫度:121℃
(4)大壓力:100psig
(5)溫度補償:PT1000/PT100
3、CS8000TC– 冷卻塔電導率傳感器:
傳感器CS8000TC是一個安裝簡便的電導率傳感器,非常適合用于監測冷卻水中的TDS(總溶解固體)。鍵控法蘭有利于傳感器定向,以實現無故障監測。可拆卸的S855電纜組件使傳感器拆卸變得簡單。
特點:
(1)范圍:K=1.0±10%
(2)材料:CPVC, 石墨, 氟橡膠
(3)高溫度/壓力:60℃(140℉)/100 psig
(4)溫度補償:可選擇10K或30K NTC /?Pt100或 Pt1000RTD
4、接觸式工業電導率傳感器
高質量的工業級電導率電極,適合浸沒式/在線式安裝。 所有電極都是由不銹鋼體,引腳(316SS)和PEEK絕緣體構成的。作為一附加選項,可提供自動溫度補償。 CS650TC電極十分適用于超純水應用,而CS675HTTC和CS676HTTC 則適用于鍋爐應用。為了方便客戶,所有"HTTC"電極都配有6英寸長的聚四氟乙烯絕緣導線。
特點:
(1)外殼材料:CS650系列: 1/2" NPT 316不銹鋼體和引腳
(2)電極常數:CS650電極: 僅0.1和1.0 /?CS675, CS676電極: 0.1, 1.0 和10.0
(3)溫度范圍:高可達200℃
(4)壓力范圍:高可達300psig
5、環形電導率傳感器
TCS系列環形(電感應)電導率傳感器采用可靠的環形線圈技術,測量范圍廣達0-2000,適用于腐蝕性強和容易產生堵塞的溶液測量。它具有無故障操作,使用壽命長的特點。改性聚苯醚是標準的結構材料,具有良好的溶劑耐受性和溫度穩定性,可耐溫高達105℃。將來可提供PEEK聚醚醚酮材質的傳感器。 可以利用傳感器上的3/4” MNPT螺紋進行浸沒式安裝,或者安裝在2” NPT三通中。用戶可指定ATC元件,并內置于TCS傳感器。所有TCS傳感器都配有20英尺長的9芯電纜。
特點:
(1)測量范圍:0-2,000,000 uS/cm
(2)基體材料:noryl
(3)高溫度:105℃
(4)大壓力:150psig
(5)溫度補償:可自選
注:該傳感器可以配備對應的4-20mA帶顯示和不帶顯示的變送器
以上就是工采網小編為大家總結的關于污水處理系統中會用的水質傳感器的一個總結,希望對大家有所幫助。
轉載請注明出處:傳感器應用_儀表儀器應用_電子元器件產品 – 工采資訊 http://www.iohhome.com/4776.html




















