數字電容處理器芯片通過電容變化感知目標物體狀態,核心原理包括電容傳感、模數轉換和信號處理。芯片內置感測電極,當物體靠近時,電極間電容值因介電常數變化而改變。
工采電子代理的MCP1081S (Mysentech Capacitive Processor)是新一代電容傳感微處理器SOC芯片,集成了十通道、多模式、寬頻電容模擬前端傳感電路、微處理器、存儲及豐富的I/O接口。電容測量頻率在0.1~30MHz范圍內可配置,輸出為16bit數字信號,較高分辨率為1fF。
芯片支持多種工作模式,可以測量包括單端電容、雙端浮空電容和互電容多種模式。芯片內部集成了16bit高精度的數字溫度傳感器,可用于需要溫度補償及其它溫度復合傳感的場景。
為了解決各行業電容感知的嵌入式處理,SOC芯片集成了Arm? Cortex?-M0內核的微處理器,可實現各種感知算法的邊緣計算,將原始測量的振蕩頻率數值,轉換成電容值及液位、含水率、位移、接近距離、等具體物理量。芯片內置了16KB Flash存儲器及2KB SRAM,可讓開發者編寫應用軟件,并存儲傳感校準及應用數據。芯片同時集成了ADC、高級定時器、通用定時器、16位基本定時器等硬件資源以及USART和I2C等接口。
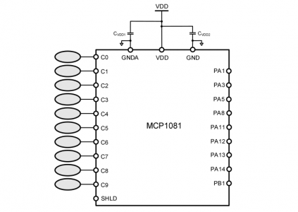
MCP1081的單端模式典型應用電路如下:
其中管腳C0至C9連接單端電極,選取內部20pF作為參比電容。圖中管腳分配僅為一種示例。在實際應用中,可以根據需要,分配管腳連接單端電極、互電容電極或者外接電容。圖中VDD濾波電容CVDD1和CVDD2的取值范圍為100nF至10uF,兩個GND管腳都需要接地。
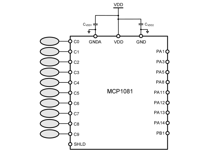
MCP1081的雙端模式典型應用電路如下:
其中管腳C0和C1、C2和C3、C4和C5、C6和C7、C8和C9接雙端電極,選取內部20pF作為參比電容。在實際應用中,可以根據需要,分配管腳連接雙端電極或者外接電容。圖中VDD濾波電容CVDD1和CVDD2的取值范圍為100nF至10uF, 兩個GND管腳都需要接地。
電容傳感芯片 - MCP1081S的特性:
電容檢測前端
–10路單端電容/5路雙端電容測量
–電容測量范圍:1pF~10nF
–電容檢測頻率:100KHz~30MHz
–電容/頻率分辨率:16bit
–支持有源屏蔽,相鄰互電容測量
內核與系統
–32-bit Arm?Cortex?-M0
–工作頻率可達48MHz
存儲器
–16KB Flash存儲器
–2KB SRAM
時鐘、復位和電源管理
–2.3V~5.5V供電
–上電/斷電復位(POR/PDR)、可編程電壓
監測器(PVD)
–內嵌48MHz HSI高速振蕩器
–內嵌40KHz LSI低速振蕩器
–支持較高48MHz外部時鐘輸入(HSE,通過OSCIN引腳)
低功耗
–支持低功耗模式,包括:睡眠(Sleep)和深度睡眠(Deep Sleep)
–平均功耗:12uA@1Hz
5個定時器
–1 個16位4通道高級控制定時器(TIM1)
–1 個16位4通道通用定時器(TIM3)
–1 個16位基本定時器(TIM14)
–1 個獨立時鐘的硬件看門狗定時器(IWDG)
–1 個Systick定時器:24位自減型計數器
9個快速I/O端口
–所有I/O口可以映像到外部中斷
–所有端口均可輸入輸出電壓不高于VDD的信號
3個通信接口
–1個USART接口
–1個I2C接口
1個12位模數轉換器(ADC),支持較快1μs轉換時間(1MSPS采樣率),配置4個外部通道和1個可采集內置參考電壓的內部通道
CRC計算單元
96位芯片唯一ID(UID)
調試模式–串行調試接口(SWD)接口
工作溫度范圍-40℃~+85℃
單通道轉換時間:0.1ms~23.5ms可配置
內置16bit高精度數字測溫
在數字電容傳感芯片領域,浙江MYSENTECH便是國產品牌中的佼佼者。了解更多關于浙江MYSENTECH數字電容傳感芯片的技術應用,請登錄工采網官網進行咨詢。
轉載請注明出處:傳感器應用_儀表儀器應用_電子元器件產品 – 工采資訊 http://www.iohhome.com/43308.html







