工采電子代理的MC1081系列是一款高集成度、多通道、寬頻的數字電容傳感芯片。芯片直接與測量電極板相連,通過振蕩頻率的變化,感知電容的變化。激勵頻率在0.1~30MHz范圍內可配置,測量頻率測量輸出為16bit數字信號,對應的電容較高分辨率1fF。芯片支持多種工作模式,可以測量包括單端電容、雙端浮空電容和互電容多種模式。芯片內部集成了16bit高精度的數字溫度傳感器,可用于需要溫度補償及其它溫度復合傳感的場景。芯片采用全數字化設計,通過I2C接口配置各種功能和讀取數據,支持較高1Mbps的通訊速率。
電容式傳感通過電場激勵下被測物質的微小電容變化,可實現對不同物質的介電檢測,是一種非接觸、高分辨率、高速度、低功耗、低成本的感知方法。和國內外同類產品相比,MC1081芯片較多可同時測量10路單端電容,或者5路雙端電容。電容激勵頻率調節范圍大、幅度可配置,電容測量的工作模式多樣且配置靈活,工作電壓范圍寬,外圍電路簡單、適用性強。芯片可廣泛用于非接觸介電檢測、液位測量、觸摸控制、接近感知、水浸傳感、干濕度檢測、含水率分析等各種場景。
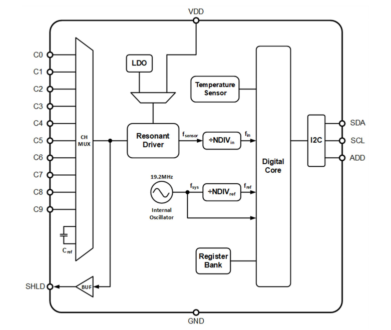
系統框圖:
上圖是MC1081的系統框圖,包括振蕩驅動電路(Resonant Driver)、多通道選擇器(Channel Mux)、分頻計數電路(Frequency Divider)、參考內部時鐘(Internal Oscillator)、數字制邏輯(Digital Core)、寄存器堆(Register Bank)、溫度傳感(Temperature Sensor)、I2C接口、LDO及電源管理等功能模塊。MC1081的驅動電路和外部電容Csensor構成電容傳感器,對應產生不同的振蕩信號fsensor經過分頻送至數字邏輯電路,測量并數字化信號頻率fin。數字邏輯使用參考頻率fref來測量傳感器的信號頻率fin,該參考頻率fref,通過芯片內部的高精度19.2MHz時鐘經過分頻器得到。通道C0~9,可以根據應用需求,連接多路單點或者雙端電容電極,需要時可以通過SHLD進行有源屏蔽。I2C接口用于芯片的模式配置與傳感數據的讀取。
電容傳感芯片 - MC1081的特性:
較多支持10路單端電容/5路雙端電容測量
電容測量范圍:1pF~10nF
測量激勵:100KHz~30MHz,幅度可配置
電容/頻率分辨率:16bit
支持有源屏蔽,相鄰互電容測量
供電電壓范圍:2.3V~5.5V,內置LDO
單通道轉換時間:0.1ms~23.5ms可配置
內置16bit高精度數字測溫
典型單通道平均電流:2.5μA@1Hz
睡眠電流:50nA
通信接口:I2C
工作溫度:-55℃~+125℃
QFN16/TSSOP16/DFN8 封裝可選
電容傳感器?- MC1081的應用:
液位測量
含水率測量
水浸傳感
干濕度分析
介電檢測
接近感知
按鍵觸控
手勢識別
在數字電容傳感芯片領域,浙江MYSENTECH便是國產品牌中的佼佼者。了解更多關于浙江MYSENTECH數字電容傳感芯片的技術應用,請登錄工采網官網進行咨詢。
轉載請注明出處:傳感器應用_儀表儀器應用_電子元器件產品 – 工采資訊 http://www.iohhome.com/42833.html






